Set motor pentru urmatoarele modele:
Produs in Anglia
Contine camasa motor, set inele camasa, piston cu bolt si siguranta bolt, set segmenti piston pentru 1 piston.
Piston tip “B”
Greutate 5,333 kg
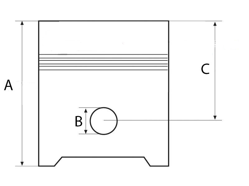
Dimensiuni piston
A = 112,03 mm
B = 34,92 mm
C = 66,30 mm
Adancime camera = 20,62 mm
Diametru camera Ø53,93 mm
Diametru piston … mm pentru camasa cu gaura 101,83 mm
Nr.segmenti 3
Dimensiuni camasa piston
Diametru gaura 101,98 mm
Diametru exterior … mm
Inaltime 197 mm
Se utilizeaza la urmatoarele modele:
John Deere
830, 930, 1020, 1030, 1120, 1130, 1530, 1830, 2030, 2120, 2440, 3030, 3120, 3130, 4030
Cod piesa producator
John Deere
AR78041, AR90550


