Set motor pentru urmatoarele modele:
Produs in Anglia
Contine camasa motor, set inele camasa, piston cu bolt si siguranta bolt, set segmenti piston pentru 1 piston.
Greutate 5 kg
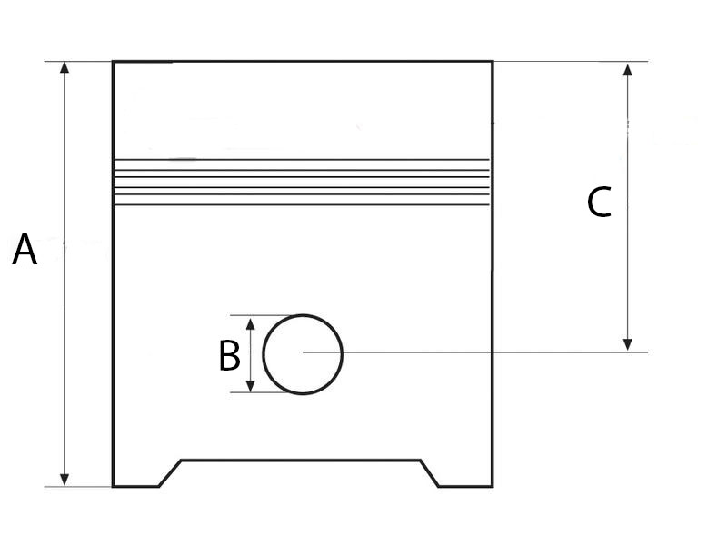
Dimensiuni piston
Lungime piston = 108,06 mm
Adancime camera = 19,43 mm
Diametru camera Ø76,37 mm
Diametru bolt Ø 34,92 mm
C = 70 mm
Diametru piston mm pentru camasa cu gaura 98,34 mm
Numar segmenti = 3
Dimensiuni camasa piston
Diametru gaura 100,06 mm
Diametru exterior 104,26 mm
Diametru exterior cu flansa/bordura 107,39 mm
Inaltime 226,7 mm
Se utilizeaza la urmatoarele modele:
Massey Ferguson
396, 399, 3075, 3085, 3095, 3115, 4260, 4270, 6160, 6170, 6260, 8925, 8926, 8937, 8939
Perkins
1004-4 (AA), 1004-4T (AB), 1006-6 (YA)
Cod piesa producator
–


